爆雷!有人买47万!抢到黄金 平台不发货不退款?(组图)

据澎湃新闻报道,今年11月,湖南长沙的陈女士在“一站式奢侈品购物平台”麦多多购买了47万元的黄金,但下单后对方迟迟不发货。陈女士称,至11月7日,麦多多已不再回复消费者消息。

据红星资本局11月16日报道,多位消费者告诉记者,麦多多里面的金价比大盘价格低,最开始买的黄金发货较快,但从11月初购买的黄金既不发货也不退款,金额在几万元到几十万元不等。还有消费者贷款买黄金,现无力还上贷款。

11月16日,红星资本局多次致电麦多多,电话均无人接听。多位受访者表示,他们已经向公安机关报警,目前上海警方已经立案。据澎湃新闻报道,有消费者前往麦多多办公地点发现人去楼空,“初步统计被骗的有四百多人,总金额2000多万元”。目前,部分消费者已就此事报警。

图片来源:河南广播电视台

不发货不退款多名消费者还不上买黄金的贷款

据河南广播电视台11月15日报道,河南的李女士在麦多多平台上抢黄金,上午10点一场,下午8点一场。虽然难抢但一克能便宜20块钱,一万块的黄金转手能赚400块。在麦多多APP上,她累计花了10万买黄金,一开始还正常,可很快,她就发现订单不发货,客服不理人。


据澎湃新闻11月15日报道,湖南长沙的陈女士今年10月在投资群内认识了一位网友,对方称在麦多多购买的黄金保值、保真,并且比国际大盘均价便宜20元-30元/克,“对方说是自己的亲身经历,只需要在特定的时间抢购即可。”10月6日,陈女士尝试购买了几单黄金,收到货后顺利出手并从中赚取差价。截至10月31日,她共计购买了8万余元的黄金,转卖后从中赚取了6000余元差价。尝到甜头后,10月31日到11月7日,陈女士连续抢购了780克黄金,共计花费46万余元。但这次麦多多始终没有发货。陈女士多次联系麦多多催促发货。其后,虽然部分订单显示已发货,但无法根据运单号查询到物流信息。“通过快递公司查询发现,全是虚假发货。”陈女士于是多次联系客服要求退款,但对方已不再回复消息。

让陈女士感到崩溃的是,11月7日她无法联系到麦多多时,当初推荐她到麦多多购买麦黄金的网友也同时失联,对方创建的群聊也被解散。

推荐消费者购买黄金的网友曾发来自己购买黄金的图片。受访者供图 澎湃新闻

另据红星资本局报道,一位山东的消费者告诉记者,最开始她在社交媒体上看到有人发帖子分享如何叠加各种优惠券购买黄金,她加了这个人微信后,便被推荐在麦多多买黄金。她看到,麦多多的金价比大盘低20-30元,从8月份开始她就陆续买了七八十克黄金,最开始几天就可以收到货,但是11月的订单就没有再发货了。她还有50克的黄金未发货,约3万元无法退款。

记者发现,多位消费者不惜贷款买黄金,现在无法退款之后还不上贷款。

四川的李女士告诉红星资本局,她最开始下单了10克黄金,3天就发货了,并且是真金,卖给回收商了。后来,她逐渐“上头”,以为是新平台亏本搞福利,把自己的备用手机都拿来抢黄金,前后总共抢了150克黄金。结果,有100克黄金一直不发货,将近6万元无法退款,而她共贷款了8.2万元。她说,为了还上贷款,她把自己的首饰都卖掉了一部分,现在还有1.8万元的贷款还不上。

另一位辽宁的消费者也表示,她同样贷款了13万元,结果有210克黄金未发货。她说,8月份黄金还在570元/克的时候,她以为金价会跌,就和黄金回收商约定好之后以此价格卖给回收商200克黄金,并交了1.4万元押金。

受访者供图 图片来源:红星资本局

她说,最开始并不相信麦多多,加群后也因为在群里质疑麦多多被踢出群。后来,金价持续上涨,为了不违约并拿回押金,她只能在麦多多购买200克黄金卖给回收商。在麦多多里面,黄金需要每天上午十点和晚上八点定时抢购。按照麦多多590元/克-600元/克的价格,她卖给回收商其实是亏损的。

发现在麦多多买的黄金是真的之后,为了把亏的钱赚回来,她和回收商再次约定卖210克黄金。结果,这210克黄金迟迟不发货,而她13万元的贷款来自信用卡、花呗和网贷。最近,她让贷款中介去银行谈是否能申请贷款从而还上信用卡和花呗,最终被银行拒绝。

麦多多已被上海警方立案律师:平台涉嫌诈骗

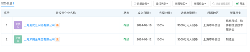
天眼查显示,麦多多隶属上海麦个购网络科技有限公司,成立于2024年4月23日,注册资本1500万元,法定代表人陈凯文,注册地在上海,经营范围为互联网销售;服装服饰批发;鞋帽批发与零售;珠宝首饰批发;化妆品批发;个人互联网直播服务等。旗下拥有上海麦优汇网络有限公司、上海沪腾金珠宝有限公司这两家全资子公司,目前这三家公司均处于存续状态。


澎湃新闻记者多次致电麦多多所属公司上海麦个购网络科技有限公司,截至发稿时,电话始终无法接通。

11月16日,红星资本局多次致电上海麦个购网络科技有限公司,电话始终无法接通。多位消费者表示,她们已向公安机关报警,上海警方已经立案。

图片来源:受访者供图 红星新闻

据河南广播电视台,目前,上海闵行分局民警告诉记者,上海麦个购网络科技有限公司已经关闭,公司负责人已被抓获。

据澎湃新闻,北京市京师(上海)律师事务所律师吴风虎认为,根据《刑法》第二百二十四条的规定,如果涉事平台没有实际履行能力,而是通过先履行小额合同或部分履行合同的方法,诱骗消费者继续签订和履行后续大额合同,可能涉嫌构成合同诈骗罪。

消费者应保留与案件相关的一切证据材料,包括订单资料、交易记录、快递信息等,以便后续维权和法律诉讼使用。同时,消费者应尽快向公安机关报案,由警方调查处理。

据红星资本局,河南泽槿律师事务所主任付建告诉记者,麦多多前期以低价黄金吸引消费者,可能是为了获取消费者信任而采用的手段;后期平台突然不发货也不退款,符合通过欺骗手段获取消费者财物并占为己有的特征,特别是如果平台本身没有实际履行合同的能力,却诱使消费者大量购买黄金,就更有可能涉嫌构成诈骗罪。

付建表示,麦多多的行为导致消费者的钱款被非法占用,消费者的财产安全权受到了侵犯,消费者应当保留订单截图、付款凭证、与平台客服沟通记录等证据,向市场监督管理部门举报麦多多的违法行为,监管部门可以对平台进行调查和处罚。

“如果赃款没有转移,在案件审结后,法院会根据判决结果责令犯罪嫌疑人退还赃款,具体的退款时间需要根据案件的执行情况来确定。”付建说。


推荐阅读