IT之家 11 月 16 日消息,网络安全公司 NordPass 于 11 月 14 日发布博文,提取各种公开泄露数据源(包括暗网)共计 2.5TB 数据,在分析和审查后报告了 2024 年最糟糕密码。
IT之家援引该报告内容,在全球范围内,共计发现 3018050 个“123456”密码,位列榜首,攻击者可以在 1 秒内破解:

IT之家援引该报告内容,我国共计发现 996992 个“123456”密码,位列榜首,攻击者可以在 1 秒内破解:

Advertisements
值得阅读的新闻网站
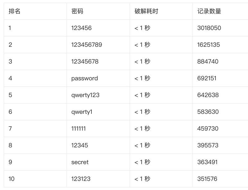
IT之家 11 月 16 日消息,网络安全公司 NordPass 于 11 月 14 日发布博文,提取各种公开泄露数据源(包括暗网)共计 2.5TB 数据,在分析和审查后报告了 2024 年最糟糕密码。
IT之家援引该报告内容,在全球范围内,共计发现 3018050 个“123456”密码,位列榜首,攻击者可以在 1 秒内破解:

IT之家援引该报告内容,我国共计发现 996992 个“123456”密码,位列榜首,攻击者可以在 1 秒内破解:
