
西郊夏都花园。
界面新闻记者 | 王婷婷
2024年的上海,不仅豪宅新盘热度空前,连法拍房也十分抢手。
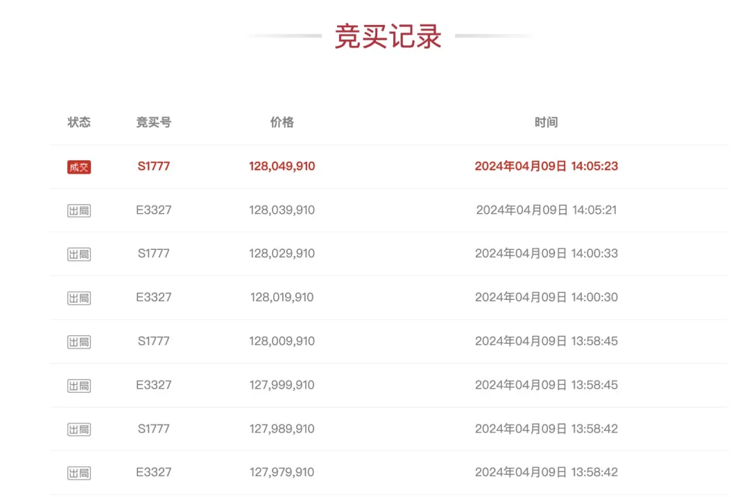
4月9日下午两点十分,一套位于上海市长宁区的房产以1.28亿元的价格成交,溢价率33.59%,楼面单价21.34万元/平方米。该场法拍共吸引19220次围观,经过1904轮激烈竞价方才“落槌”。
根据拍卖文件显示,此次拍卖标的为上海市长宁区剑河路2000弄57号房产,标的资产建筑面积600.31平方米,评估价1.127亿元,一拍起拍价9584.99万元,相当于评估价的8.5折,保证金900万元,加价幅度1万元。
根据竞价结果显示,有3人报名参与该房产的竞价,最终以彭姓人士获胜,且成交价超过评估价。

图片截自阿里法拍。
据界面新闻了解,该豪宅所在小区正是夏都花园,属于上海西郊的独栋住宅,东近西郊明苑,南邻温莎豪园,西近剑河路,北近鼎邦俪池,距离地铁10号线龙溪路站约985米。
公开信息显示,该小区总户数仅60户,其中有29户为开发商自持并对外出租,月租金在130000元-150000元不等,以国外租客较多。
夏都花园项目修建于2002年,开发商为上海富地建设发展,小区内每套房产面积均为600平方米,小区仅有三种户型,分别是A户型601平方米、B户型603平方米和C户型605平方米。
今年3月份,在昔日地产大佬戴志康“九间堂”豪宅被卖掉不久后,夏都花园57号也被摆上拍卖架,拍卖时间为2024年4月8日10时至2024年4月9日10时止,处置法院是哈尔滨市中级人民法院。
有着“上海后花园”之称的西郊,也是上海传统的富人区和豪宅区。这里拥有成熟的生活配套、便捷的交通以及浓荫的百年林海,因为资源的特殊性和稀缺性,也成为华侨居住的首选板块之一。
夏都花园别墅群的风格为法式,由美国夏威夷设计师打造,仅有两种风格外立面,为米黄色和浅砖红色,小区绿化率70%,尤其是每户均为下沉式花园的设计,在上海众多的房屋开发中相对罕见。
该板块新房长期断供,直到2022年7月,上海城投旗下城投控股全资子公司城投置地以27.626亿元的总价竞得一宗西郊别墅区地块,为长宁区新泾镇232街坊17/1丘77-01地块,联动价16.3万元/平方米。市场消息称,该地块项目“青溪名邸”在今年二季度有望入市。
长期以来,置业在西郊,在某种程度上已经成为一种身份和地位的象征。所以,夏都花园57号能够一拍就定,顺利迎来其下一任主人。而对于竞得者而言,能够以法拍的途径竞得夏都花园,也能迅速实现其入驻西郊的心愿。
今年以来,全国法拍房挂牌量再度走高,上海也不例外。中指研究院此前数据显示,2024年2月上海市法拍市场供应新增上拍拍品186套,交易截止拍品挂拍各类房源257套,成交89套,成交率34.63%,总成交金额约7.34亿元。
过去两年,上海法拍房市场只要是优质房源,都不愁买家,但今年受二手房市场行情冷淡影响,上海法拍房成交难度也随之增加,甚至不少地段良好、房源所处小区管理品质优良的法拍房源成为“变卖房”。
直到3月初,楼市小阳春预热,法拍房热度开始提升。比如戴志康名下豪宅以1.44亿元拍卖成交,溢价约60%,一定程度上提振了市场信心。
不过,被视为“捡漏市场”的法拍房市场,大多数法拍房仍以折扣价成交。从今年前3个月上海法拍房成交统计数据来看,69%的法拍房都是7折左右拍卖成交。
数据显示,接下来上海还有待拍房源共350多套,多为4月份集中拍卖,但这些房产能否都成功找到其新主,还面临一定挑战。