又一集采中选企业宣布破产了。
9 月 16 日,全国企业破产重整案件信息网更新了一则案件开庭审理通知,大余县人民法院受理了江西润泽药业有限公司的破产申请。

图源:全国企业破产重整案件信息网
目前案件的具体细节尚未公开,但申请破产的江西润泽药业,在 2024 年底由南昌市牵头的氯化钠等注射液市级联盟集采当中刚刚中选。
消息一经公布,立刻引起多方猜测,结合江西润泽在集采中的超低报价,多方认为「江西润泽以低价争抢市场意图明显。虽以最低价中标,但利润微薄最终越卖越亏导致破产。」
但事实真的如此吗?其中到底发生了什么?
中选 2 月的「明星企业」被曝停产,已欠薪 7 个月
据公开信息显示,江西润泽药业有限公司成立于 2010 年,位于江西省赣州市大余县,占地约 100 亩,建筑面积 26000 余平方米,注册资本为 12000 万元,是一家中型企业。
江西润泽药业也曾经是当地的明星企业。
据相关平台的公司介绍,该企业是江西唯一从事生物制品、多层共挤膜输液袋、直立式聚丙烯输液袋生产的高新技术制药企业,属赣州市重点工程项目和医药产业龙头企业,旗下共有 5 条生产线,曾获得「专精特新中小企业」、「企业技术中心」等荣誉。[1]

图源:高德地图
据经济日报报道,2017 年 9 月,公司董事长廖年生还曾表示正谋划创业板上市,彼时的江西润泽可谓是欣欣向荣。
2024 年,南昌牵头组织氯化钠等注射液市级联盟集采,涵盖 5 种注射液,联盟地区含 11 个地级市,采购周期为 2025 年全年,江西润泽也参与了此次集采。
在 2024 年 11 月公布的《氯化钠等注射液市级联盟集中带量采购中选结果》中,江西润泽工中标了 3 个产品,均为 0.9%氯化钠注射液(直立软袋双阀),涵盖 100ml、250ml、500ml 三种容量,且 100ml 和 250ml 规格均以组内第一顺位中标 。
其中,100ml:0.9g 氯化钠注射液每袋中标价 1.05 元,比第二顺位中选产品报价低了约 62%。同年 12 月公布的《关于做好氯化钠等注射液市级联盟集中带量采购中选结果执行工作的通知》也明确表示,自 2025 年 1 月 1 日零时起,医疗机构执行中选结果。
但就在执行中选后 6 个月,江西润泽却突然被曝停产。
据江西省药监局官网公告,江西润泽药业因企业自身原因,向江西省药监局报告停产,停产时间为 2025 年 6 月 18 日至 2025 年 10 月 31 日。

图源:江西省药监局
距离恢复生产还有 1 个半月的时间,等来的却是江西润泽破产欠薪的消息。
9 月 16 日,赣州市破产管理人协会发布通告,江西润泽药业有限公司因负债严重,流动资金枯竭,已达到资不抵债的条件,符合破产条件。
同时公告也表示,江西润泽拖欠 130 余名员工工资、社保费用及医保费用共计 916.98 万元(不含滞纳金),欠付税款及滞纳金共计 400.97 万元。[2]
这也是继此前在省际联盟骨科创伤项目中,中选的常州大章医疗器械有限公司和常州市康宇医疗器械有限公司破产后,第三家集采中选企业破产。
集采导致破产的可能性不大
在赣州市破产管理人协会发布通告中还透露,早在 2025 年 2 月初,江西润泽就已经开始停产,从执行中标,到今年 2 月停产,不过短短 2 个月时间。
张宇(化名)是国内一家头部生物医疗公司的东北区域经理,在他眼中,江西润泽因为集采低价导致破产的概率并不大。
张宇认为,对于一家中型企业而言,短短两到三个月的时间并不足以直接搞垮一个公司,而且在集采报价当中,企业报价过高和过低都不正常,江西润泽的「超低报价」背后,可能不仅仅是抢占市场这么简单。
「报价过高,企业难以中标,而报价过低,则还可能意味着公司已经出现资金链断裂,急于回款,或是已经出现产品堆积急于清库存。」张宇更倾向于第一种可能。
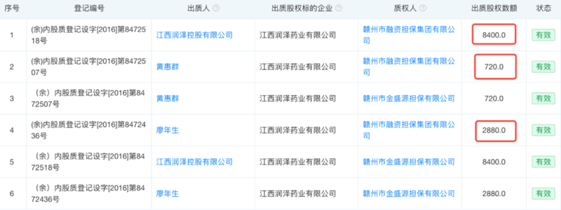
根据天眼查公布的信息,2016 年,江西润泽制药曾出质 12000 万元。

图源:天眼查
股权出质是指债务人或第三人将其投资的公司中所拥有的股权出质给债权人,作为债权的担保,在债务人不履行到期债务时,债权人有权依法以折价或拍卖、变卖方式处置该股权。
虽然股权出质并不一定直接表明公司存在经营问题,但可能暗示一些潜在风险或资金需求。
而在江西润泽这边,其股权出质累计金额已经等于注册资本,说明公司股东几乎把全部股权都抵押出去了,公司在融资和信用方面已「透支」,外部风险较高。
另一方面,江西润泽也在逐年裁员。
根据江西润泽工商年报中登记的员工人数,从 2022 年开始就已经呈现逐年递减的状态,截止到 2024 年,登记的员工人数已从 107 人跌至 68 人。
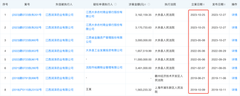
从 2012 年开始,江西润泽就官司缠身,在 2019~2023 年之间,该公司面临的诉讼达到了峰值。
在涉及 127 件司法案件,江西润泽作为被告和被执行人的案件高达 110 起,在这些案件中,绝大部分的诉讼案由均属于借款合同纠纷、金融借款合同纠纷及买卖合同纠纷。
细看这些纠纷当中,供应商和江西润泽的经济纠纷占了绝大部分。「这通常意味着企业难以给供应商结款,供应商肯定会起诉企业的。」张宇解释道。
江西润泽从 2021 年 11 月到 2024 年 1 月还涉及了 6 起终本案件,执行总标的 7010 万元,其中未履行的金额高达 6995 万元。
终本案件全称为终结本次案件,是法院在执行案件时,因为被执行人暂无可供执行的财产,而采取的一种阶段性暂时性的结案方式。
「这通常意味着企业已经到了山穷水尽,资不抵债的地步。」
除此之外,江西润泽在 2019 年到 2025 年共有 11 条失信被执行人记录,其中有 8 次失信发生在 2019~2023 年之间。

图源:天眼查
以上的种种迹象表明,江西润泽很有可能在集采中选之前,就已经出现了严重的运营问题,「这样的运营状态下,不管进不进集采,企业都很难维持太久。」张宇总结道。
目前据赣州市破产管理人协会发布通告,江西润泽正在申请破产重整。
除了停产欠薪之外,赣州两级法院涉江西润泽药业公司执行案件共有 54 件,申请执行标的款本金总额共计 67064.21 万元,涉及政府代偿 439.5 万元。
公司名下有土地、厂房、机器设备等主要资产已被设定抵押,该公司已达到资不抵债的条件,符合破产条件。
公告中法院也表示,江西润泽拥有大容量注射剂和小容量注射剂 21 个品规、46 个药品批准文号、90 个生产批件号、4 个药包材注册号,在现有的药品监管政策下,仍有巨大的市场价值,也具有重整的可能性。
截至发稿前,天眼查上企业的登记状态仍为「存续」状态,但江西润泽到底能不能重整成功,一切都还是一个未知数。